u-blox NINA-B3 Stand-Alone Bluetooth 5 Low Energy Modules

U-Blox NINA-B3 Stand-Alone BLUETOOTH® 5 Low Energy Modules feature full Bluetooth 5 support, a powerful Arm® Cortex®-M4 with FPU, and state-of-the-art power performance. The embedded low-power crystal improves power consumption by enabling optimal power-saving modes. The NINA-B3 modules include two sub-series – the NINA-B30 and the NINA-B31 series. The NINA-B30 series provides an open CPU architecture with a powerful MCU for customer applications, while the NINA-B31 series is delivered with u-connectXpress or u-connectScript software pre-flashed. The professional-grade NINA-B3 series modules are globally certified for use with the internal antenna or a range of external antennas. The internal antennas are designed for the small NINA form factor and provide an extensive range independent of the ground plane and component placement. This greatly reduces users' time, cost, and effort to integrate these modules into designs.

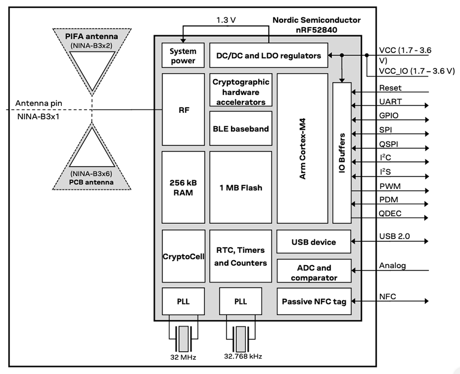
The NINA-B30 components are Bluetooth 5 modules with a powerful Arm Cortex-M4 with FPU and state-of-the-art power performance. Both variants of NINA-B30 are open CPU modules that enable customer applications to run on the built-in Arm Cortex-M4 with FPU. With 1MB flash and 256kB RAM, they offer the best-in-class capacity for customer applications on top of the Bluetooth low energy stack. NINA-B301 has a pin for use with an external antenna, NINA-B302 comes with an internal PIFA antenna, and NINA-B06 has an internal PCB antenna integrated into the module PCB. The internal antennas are designed for the small NINA form factor and provide an extensive range independent of the ground plane and component placement.

The NIN-B31 devices are Bluetooth 5 modules with a powerful Arm Cortex-M4 with FPU and u-connect software pre-flashed. The u-connect software in NINA-B31 modules supports u-blox Bluetooth low energy Serial Port Service, GATT client and server, beacons, NFC™, and simultaneous peripheral and central roles – all configurable from a host using AT commands. The NINA-B31x modules provide top-grade security thanks to secure boot, which ensures the module only boots up with original u-blox software. NINA-B311 has a pin for use with an external antenna, NINA-B312 comes with an internal PIFA antenna, and NINA-B16 has an internal PCB antenna integrated into the module PCB.

Features

  • Full Bluetooth 5, Bluetooth mesh, 802.15.4 Thread, and Zigbee®
  • Powerful open CPU for advanced customer applications
  • Hardware optimized for performance and low power consumption
  • Pin compatible with other NINA modules
  • Superior security functionality
  • Multiple antenna options

Applications

  • Industrial automation
  • Smart buildings and cities
  • Low power sensors
  • Wireless-connected and configurable equipment
  • Point-of-sales
  • Health devices

Block Diagram

Block Diagram - u-blox NINA-B3 Stand-Alone Bluetooth 5 Low Energy Modules
Published: 2020-05-18 | Updated: 2026-03-23