Texas Instruments TAS5441-Q1 Mono Class-D Audio Amplifier

Texas Instruments TAS5441-Q1 Mono Class-D Audio Amplifier is ideal for automotive emergency calls (eCall), telematics, instrument cluster, and infotainment applications. The device provides up to 22W into 4Ω at less than 10% THD+N from a 14.4VDC automotive battery. The Texas Instruments TAS5441-Q1 has a wide operating voltage range and excellent efficiency, which makes it ideal for start-stop support or running from a backup battery when required. The integrated load-dump protection reduces external voltage clamp cost and size, and the onboard load diagnostics report the speaker's status through I2C.

Features

  • AEC-Q100 qualified for automotive applications
    • –40°C to 125°C, TA temperature grade 1
  • Mono BTL digital power amplifier
  • 22W output power at 10% THD+N into 4Ω
  • 4.5V to 18V operating range
  • 85% efficiency into 4Ω
  • Differential analog input
  • Speaker Guard™ speaker protection with adjustable power limiter
  • 75dB power-supply rejection ratio (PSRR)
  • Load diagnostic functions
    • Open and shorted output load
    • Output-to-power and output-to-ground shorts
  • Protection and monitoring functions
    • Short-circuit protection
    • 40V Load dump protection per ISO-7637-2
    • Output DC Level detection while music is playing
    • Overtemperature protection
    • Overvoltage and undervoltage protection
  • Thermally enhanced 16-Pin HTSSOP (PWP) package with PowerPAD™ package (pad down)
  • Designed for automotive EMC requirements
  • ISO9000: 2002 TS16949 certified
  • 40V Load dump protection in standby
  • Non-blocking I2C in standby

Applications

  • Automotive emergency call (eCall) amplifier
  • Telematics systems
  • Instrument cluster systems
  • Infotainment audio

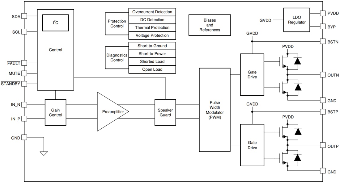
Functional Block Diagram

Block Diagram - Texas Instruments TAS5441-Q1 Mono Class-D Audio Amplifier
Published: 2020-08-11 | Updated: 2025-03-05