Texas Instruments LP87702/LP87702-Q1 Dual Buck Converters

Texas Instruments LP87702/LP87702-Q1 Dual Buck Converters are designed to meet the power management platform requirements in automotive radar/camera and industrial radar applications. The LP87702/LP87702-Q1 combines two step-down DC/DC converters, a 5V boost converter/bypass switch, two voltage monitoring inputs for external power supplies, and a window watchdog. The device is powered through an I2C-compatible serial interface and enable signals control. High efficiency is achieved over a wide output current range in automatic PWM/PFM (AUTO mode) operation. The LP87702/LP8770 device eliminates the need for an external resistor due to the internal circuitry specifically designed to support current measurement. General-purpose digital outputs and programmable start-up/shutdown sequences synchronized to the enable signal are both supported by the device. The LP87702-Q1 devices are AEC-Q100 qualified for automotive applications.

Features

  • Two high-efficiency step-down DC/DC converters
    • Maximum output current 3.5A
    • 2MHz, 3MHz, or 4MHz switching frequency
    • Auto PWM/PFM and forced-PWM operations
    • Output voltage = 0.7V to 3.36V
  • 5V Boost converter with Bypass-mode option:
    • Maximum output current 600mA
  • Two inputs for external voltage monitoring
  • Interrupt function With programmable masking
  • Output short-circuit and overload protection
  • Overtemperature warning and protection
  • Two programmable power-good signals
  • Dedicated reference voltage for diagnostics
  • Window watchdog with reset output
  • External clock input to synchronize the switching
  • Spread-spectrum modulation
  • Programmable start-up and shutdown delays and sequencing with enable signal
  • Configurable General Purpose Outputs (GPOs)
  • I2C-Compatible interface supporting standard (100kHz), Fast (400kHz), Fast+ (1MHz), and high-speed (3.4MHz) modes
  • Overvoltage Protection (OVP) and Undervoltage Lockout (UVLO)

Applications

  • Automotive radar
  • Automotive camera
  • Automotive sensor fusion
  • Industrial radar
  • Building automation

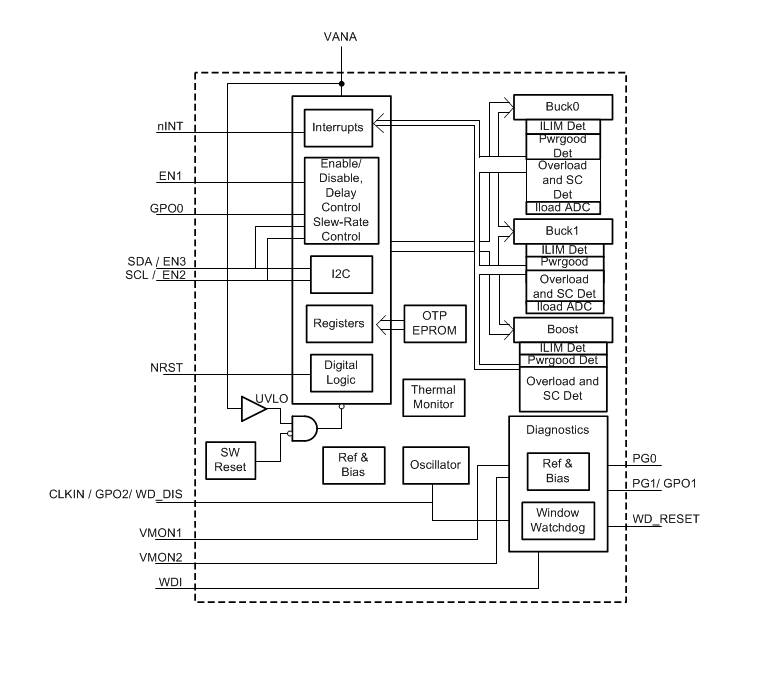
Block Diagram

Block Diagram - Texas Instruments LP87702/LP87702-Q1 Dual Buck Converters
Published: 2018-08-24 | Updated: 2024-01-29