Texas Instruments AWR1443 76GHz to 81GHz Automotive Radar Sensor

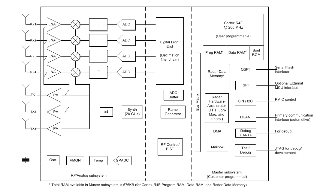
Texas Instruments AWR1443 Single-chip 76GHz to 81GHz Automotive Radar Sensor offers an integrated single-chip FMCW with unprecedented levels of integration in an extremely small form factor. The device is built with TI’s low-power 45nm RFCMOS process with an integrated ARM R4F processor and a hardware accelerator for radar data processing. The AWR1443 is an ideal solution for low-power, self-monitored, ultra-accurate radar systems in the automotive space. The AWR1443 enables a monolithic implementation of a 3TX, a 4RX system with built-in PLL and A2D converters. Simple programming model changes can enable a wide variety of sensor implementation (Short, Mid, Long) with the possibility of dynamic reconfiguration for implementing a multimode sensor. The device is provided as a complete platform solution including reference hardware design, software drivers, sample configurations, API guide, and user documentation. The AWR1443 can be viewed as a 77GHz radar-on-a-chip solution for entry-level radar applications.

Features

  • FMCW Transceiver
    • Integrated PLL, transmitter, receiver, baseband, and A2D
    • 76GHz to 81GHz Coverage with 4GHz available bandwidth
    • Four receive channels
    • Three transmit channels (two can be used simultaneously)
    • Ultra-Accurate Chirp Engine Based on Fractional-N PLL
    • 12dBm TX Power
    • RX Noise figure:
      • 14dB (76GHz to 77GHz)
      • 15dB (77GHz to 81GHz)
    • Phase noise at 1MHz:
      • –94dBc/Hz (76GHz to 77GHz)
      • –91dBc/Hz (77GHz to 81GHz)
  • On-chip programmable core for embedded user application
    • Integrated Cortex®-R4F microcontroller clocked at 200MHz
    • On-chip bootloader supports autonomous mode (loading user application from QSPI Flash memory)
    • Integrated peripherals
      • Internal memories with ECC
      • Radar hardware accelerator (FFT, Log-magnitude computations, and others)
      • Integrated timers (Watchdog and up to four 32-bit or two 64-bit timers)
      • I2C (Master and slave modes supported)
      • Two SPI Ports
      • CAN Port
      • Up to six general-purpose ADC ports
  • High-speed data interface to support distributed applications (namely, intermediate data)
  • Host interface
    • Control interface with external processor over SPI
    • Interrupts for fault reporting
  • AECQ100 Qualified
  • AWR1443 Advanced features
    • Embedded self-monitoring with no host processor involvement
    • Complex baseband architecture
    • Embedded interference detection capability
  • Power management
    • Built-in LDO network for enhanced PSRR
    • I/Os Support dual voltage 3.3V/1.8V
  • Clock source
    • Supports externally driven clock (Square/Sine) at 40MHz
    • Supports 40MHz Crystal Connection with Load Capacitors
  • Easy hardware design
    • 0.65mm Pitch, 161-Pin 10.4mm × 10.4mm Flip-chip BGA package for easy assembly and low-cost PCB design
    • Small solution size
  • Supports automotive temperature operating range
  • Built-in calibration and self-test
    • ARM® Cortex®-R4F-Based radio control system
    • Built-in firmware (ROM)
    • Self-calibrating system across frequency and temperature

Applications

  • Proximity sensing
  • Parking assistance
  • Occupancy detection
  • Simple gesture recognition
  • Car door opener applications

Block Diagram

Block Diagram - Texas Instruments AWR1443 76GHz to 81GHz Automotive Radar Sensor
Published: 2018-12-17 | Updated: 2023-07-24