Texas Instruments AFEx39xx/AFEx39xx-Q1 Smart Analog Front Ends

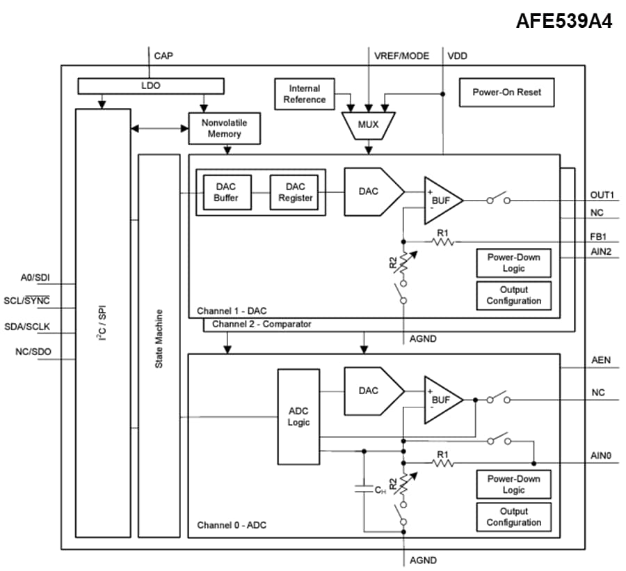
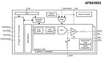
Texas Instruments AFEx39xx/AFEx39xx-Q1 Smart Analog Front Ends (AFEs) are designed for thermoelectric cooling (TEC) control using voltage or PWM output. The AFE639D2 supports an I2C controller to interface with external digital temperature sensors. The AFE639D2 and AFE539A4 support voltage output, and AFE439A2 supports PWM output. The AFEx39xx/AFEx39xx-Q1 supports a comparator channel for fault management. These devices also support Hi-Z power-down mode and Hi-Z output on the DAC channel during power off. These devices have an integrated state machine preprogrammed as a proportional-integral (PI) controller. The AFEx39xx/AFEx39xx-Q1 is an excellent choice for TEC control, temperature control, and dynamic headroom control applications. The Texas Instruments AFEx39xx/AFEx39xx-Q1 integrates advanced features, internal reference, and NVM, enabling this smart AFE for processor-less applications and design reuse.

Features

  • Integrated proportional-integral (PI) control
    • Standalone operation from nonvolatile memory (NVM)
    • Programmable proportional and integral gain
    • Comparator input for output clamping
    • Programmable min, max, and common-mode values for output
    • Programmable loop-phase inversion
  • AFE639D2
    • I2C controller for external digital temperature sensor interface
    • 12-bit DAC output: 4LSB DNL, 1LSB DNL
  • AFE539A4
    • 10-bit ADC input: 2LSB INL, 1LSB DNL
    • 10-bit DAC output: 1LSB INL and DNL
  • AFE439A2
    • 8-bit ADC input: 1LSB INL and DNL
    • 7-bit duty-cycle PWM output
  • Programmable comparator for fault management
  • High impedance output on DAC channel when VDD is off
  • Automatically detects I2C or SPI
    • 1.62V VIH with VDD = 5.5V
  • VREF/MODE pin selects between programming and standalone modes
  • User-programmable NVM
  • Internal, external, or power supply as reference
  • Wide operating range
    • 1.8V to 5.5V power supply
    • Temperature range of –40˚C to +125˚C
  • 16-pin WQFN (3mm × 3mm) tiny package

Applications

  • Laser
  • Chemistry and gas analyzer
  • Mechanically scanning LIDAR
  • Robot sensing module
  • Mobile robot sensing module
  • Seeker front end

Functional Block Diagrams

Published: 2023-10-16 | Updated: 2024-01-12