Renesas Electronics RL78/G22 Capacitive Touch Evaluation System

Renesas Electronics RL78/G22 Capacitive Touch Evaluation System is a kit designed for evaluating the RL78/G22 of microcontrollers. This kit evaluates various touch functions (button, slider, and wheel) and works as a reference while designing boards or software. The RL78/G22 kit features E2/E2 Lite debugger connector, general-purpose switches and LEDs, and a capacitive touch sensor (CTSU2La) (29 channels available). The RL78/G22 capacitive touch evaluation system complies with IEC 61000-4-3 and IEC 61000-4-6 Level 3.

Features

  • E2/E2 Lite debugger connector microcontroller programming and debugging
  • General-purpose switches and LEDs
  • Evaluate various touch functions (button, slider, and wheel)
  • Simple prototyping
  • Used as a reference when designing boards or software
  • RL78/G22 MCU (R7F102GGE2DFB) mounted
  • Capacitive touch sensor (CTSU2La) terminal 29 channels available
  • Easily adjust the sensitivity by using QE for capacitive touch:
    • Easy operation with an intuitive interface
    • Easy to develop touch interfaces even for beginners with GUI
    • Automatically output adjusted source code
  • Compliant with IEC 61000-4-3 and IEC 61000-4-6 level 3

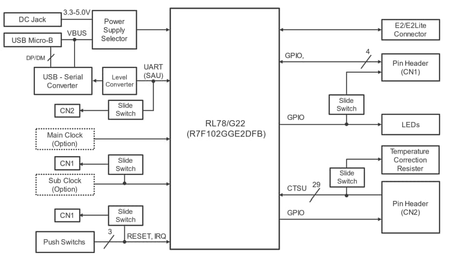
Block Diagram

Block Diagram - Renesas Electronics RL78/G22 Capacitive Touch Evaluation System
Published: 2023-03-24 | Updated: 2023-10-02