onsemi FAN6248 Synchronous Rectifier Controllers
onsemi FAN6248 Synchronous Rectifier (SR) Controllers are optimized for LLC resonant converter. These controllers feature two driver stages to drive SR MOSFETs which rectify the output of the secondary transformer windings. The FAN6248 controllers are available in FAN6248HAMX and FAN6248HBMX versions. The onsemi FAN6248HAMX controllers offer high turn-off threshold voltage, while FAN6248HBMX controllers offer low threshold voltage. Other features include light load detection, standby current consumption, and SR current inversion detection. Applications include high power density laptop adapter, LCD-TV, PDP-TV, RP-TV power, and high power LED lighting.Features
- Highly integrated self-contained control of synchronous rectifier with minimum external components
- Anti-shoot-through control for reliable SR operation
- Separate 100V rated sense inputs for sensing the drain and source voltage of each SR MOSFET
- Adaptive parasitic inductance compensation to minimize the body diode conduction
- Adaptive minimum on time for noise immunity
- High driver output voltage of 10.5V to drive all MOSFET brands to the lowest RDS_ON
Specifications
- Up to 30V operating voltage range
- 25KHz to 700KHz operating frequency
Applications
- High power density laptop adapter
- High power density adapter
- Large screen LCD-TV, PDP-TV, and RP-TV power
- High-efficiency desktop and server power supplies
- Networking and telecom power supplies
- High power LED lighting
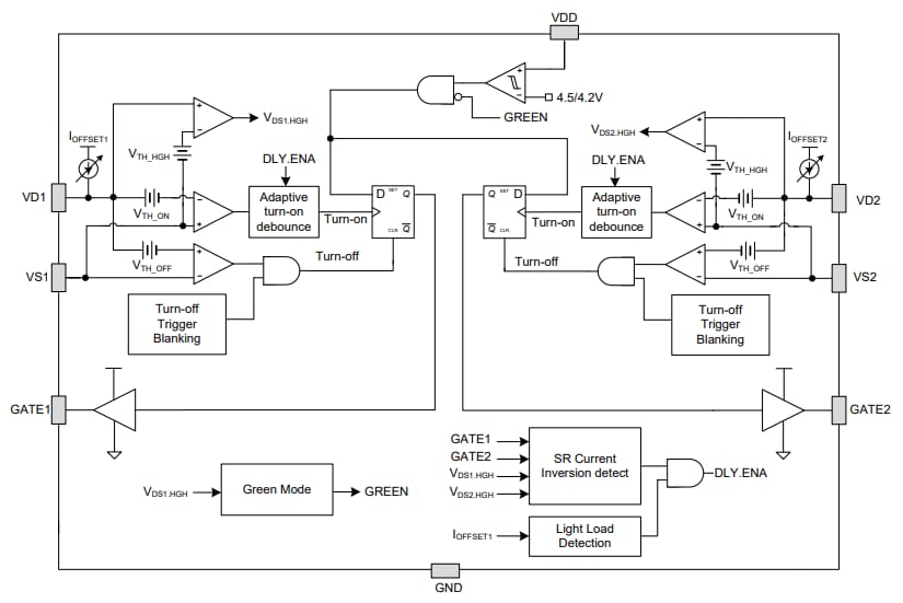
Block Diagram
Published: 2017-06-19
| Updated: 2022-03-11
