onsemi NCP161 High PSRR LDO Regulators

onsemis NCP161 High PSRR LDO Regulators are linear regulator capable of supplying 450mA output currents. The NCP161 are designed to meet the requirements of RF and analog circuits. The devices provide low noise, high PSRR, low quiescent current, and very good load/line transients. The device is designed to work with a 1µF input and a 1µF output ceramic capacitor. The NCP161 are available in two thickness ultrasmall 0.35P, 0.65x0.65mm Chip Scale Package (CSP) and XDFN-4 0.65P, 1x1mm.

Features

  • 1.9V to 5.5V operating input voltage range 
  • Available in a fixed voltage option of 1.8V to 5.14V
  • ±2% accuracy over load/temperature
  • Ultralow quiescent current typ. 18µA
  • Typ. 0.1µA standby current 
  • 150mV at 450mA very low dropout 
  • Ultra-high PSRR (typ. 98dB at 20mA, f = 1kHz)
  • 10µVRMS ultra low noise
  • Stable with a 1µF small case size ceramic capacitors
  • Case options
    • WLCSP4 - 0.65mm x 0.65mm x 0.4mm case 567KA
    • WLCSP4 - 0.65mm x 0.65mm x 0.33mm case 567JZ
    • XDFN4 1mm x 1mm x 0.4mm
  • These devices are Pb-free, halogen-free/BFR free, and are RoHS compliant

Applications

  • Battery−powered equipment
  • Wireless LAN devices
  • Smartphones
  • Tablets
  • Cameras
  • DVRs
  • STB
  • Camcorders

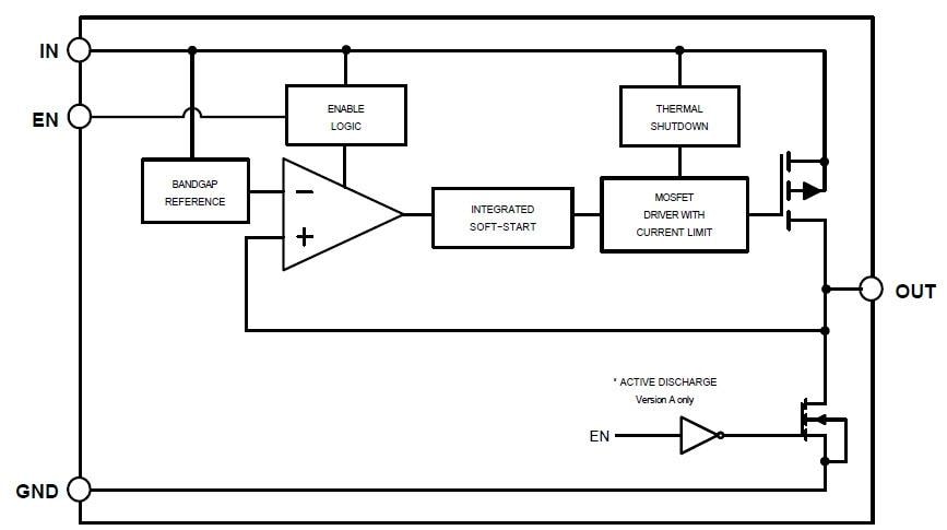
Block Diagrams

Block Diagram - onsemi NCP161 High PSRR LDO Regulators
Published: 2017-01-11 | Updated: 2026-03-20