Microchip Technology RNWF02 Add On Board

Microchip Technology RNWF02 Add On Board is an efficient, low-cost development platform for evaluating and demonstrating the features and functionalities of the RNWF02PC Low-Power Wi-Fi® module. This plug-in board complies with the mikroBUS standard and includes an onboard MCP2200 USB-to-UART Converter, enabling out-of-the-box evaluation. The signals required for the control interface are connected to the onboard connectors of the Add On Board for flexibility and rapid prototyping. The Add-On Board can be plugged easily into the host board and controlled by the host Microcontroller Unit (MCU) with AT commands through UART.

Features

  • RNWF02PC low-power 2.4GHz IEEE® 802.11b/g/n-compliant Wi-Fi module
  • Powered at 3.3V supply either by USB Type-C® (derived default 3.3V supply from host PC) or by host board using mikroBUS interface
  • Easy and fast evaluation with onboard USB-to-UART serial converter in PC companion mode
  • Host companion mode using mikroBUS socket
  • Exposes Microchip Trust&Go CryptoAuthentication™ IC through mikroBUS interface for secure applications
  • LED for power status indication
  • Hardware support for 3-wire PTA interface to support BLUETOOTH® co-existence

Applications

  • Smart factories/control devices
  • Security systems and CCTV
  • Smart homes/lighting and smart locks
  • Computing, Wi-Fi dongles, and protocol bridging
  • Internet of Things (IoT) sensor tags
  • Remote controls
  • Wearable smart devices
  • Industrial control

Overview

Mechanical Drawing - Microchip Technology RNWF02 Add On Board
Mechanical Drawing - Microchip Technology RNWF02 Add On Board

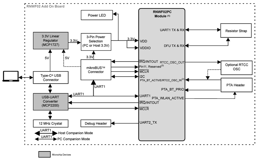
Block Diagram

Block Diagram - Microchip Technology RNWF02 Add On Board

Power Supply Block Diagram

Block Diagram - Microchip Technology RNWF02 Add On Board
Published: 2024-11-08 | Updated: 2024-11-15