Micro Crystal TS-3032-C7 Temperature Sensor Modules

Micro Crystal TS-3032-C7 Temperature Sensor Modules feature full RTC functions and an embedded XTAL. The Micro Crystal TS-3032-C7 is engineered to operate flawlessly in vacuum environments. This module is encased in a hermetically sealed ceramic package, further fortified by a sturdy metal lid. With its innovative design and unparalleled precision, the TS-3032-C7 is set to revolutionize temperature sensing technology.

Features

  • 12-bit temperature sensor
  • Programmable threshold alarms and timestamps
  • ±1°C from -40°C to +85°C accuracy
  • 0.0625°C readable resolution
  • ±2.5ppm temperature-compensated real-time clock
  • 160nA @ 3V ultra-low power consumption
  • 1.3V to 5.5V wide operating voltage range
  • User programmable password for write protection
  • Automatic backup switchover
  • Timer, alarm, and external event functions
  • 400kHz I2C-bus interface
  • 100% Pb-free, RoHS-compliant
  • Automotive qualification according to AEC-Q200 available

Applications

  • Metering
  • Automotive
  • IoT cold chain
  • RTD replacement
  • Wearables, portables
  • Precision temperature monitoring

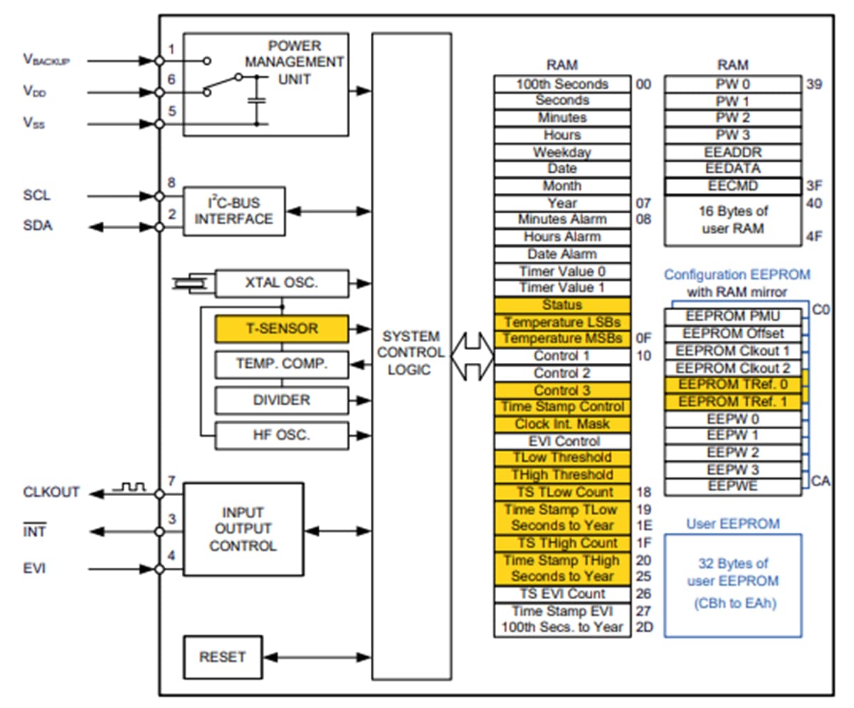
BLOCK DIAGRAM

Block Diagram - Micro Crystal TS-3032-C7 Temperature Sensor Modules

Videos

Evaluation Board

The Micro Crystal TS-3032-C7 Development Board is available for evaluating the TS-3032-C7.

Published: 2023-06-06 | Updated: 2024-02-27