Micro Crystal RV-3028-C7 Real-Time Clock (RTC) Modules

Micro Crystal RV-3028-C7 Real-Time Clock (RTC) Modules provide low power consumption of 45nA at a supply of 3V and ±1ppm accuracy at room temperature. These features eliminate any calibration during manufacturing. The miniature SMD ceramic package (3.2mm x 1.5mm x 0.8mm) includes the 32.768kHz quartz crystal as part of a hermetically sealed module. The extremely low power consumption combined with the integrated battery backup switch with trickle charger allows MLCC capacitors/Supercaps to provide extended backup time. With an event detection input, the RV-3028-C7 modules from Micro Crystals feature all the prerequisites for wearables, medical healthcare, and other power-sensitive IoT applications.

Features

  • Ultra-miniature ceramic SMD package: 3.2mm x 1.5mm x 0.8mm
  • Event input for time-stamping, also during system power-down
  • Battery backup switch with a trickle charge, ideal for MLCCs and supercaps
  • Provides time and date from seconds to years
  • 32-bit UNIX time counter (e.g. for security code calculations)
  • Password for write protection of time and configuration
  • 43 bytes of user EEPROM

Applications

  • Internet of Things (IoT)
  • Metering
  • Industrial
  • Automotive
  • Healthcare
  • Wearables
  • Portables

Specifications

  • 45nA at 3V low power consumption
  • 1.1V to 5.5V wide operating voltage range
  • ±1ppm at 25°C time accuracy
  • -40°C to +85°C operating temperature range
  • 32.768kHz to 1Hz clock output frequencies
  • 400kHz I2C bus interface

Videos

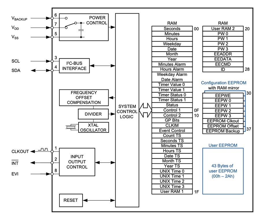
Block Diagram

Block Diagram - Micro Crystal RV-3028-C7 Real-Time Clock (RTC) Modules
Published: 2020-06-02 | Updated: 2025-03-25