Labforge Bottlenose™ High-Resolution 4K Smart Cameras
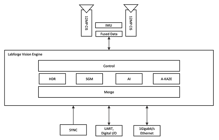
Labforge Bottlenose™ High-Resolution 4K Smart Cameras are designed for industrial automation and robotics applications. The Bottlenose™ Smart Cameras are available in monocular and stereo versions. The stereo version includes dual image sensors. Both monocular and stereo versions have hardware synchronized triple-axis gyroscopes, accelerometers, and magnetometers. Bottlenose™ can be connected over standard Ethernet using GigE Vision 2.1. It has simultaneous on-camera processing for HDR, feature point detection and matching, dense disparity, and AI.Features
- 4K HDR
- Local tone mapping and image processing done on camera
- Capture rich details and features in low light and bright light situations
- Dense depth (stereo version only)
- Disparity image computed at 4K
- 128 disparities with subpixel approximation
- 512 disparities with on-camera pyramids and binning
- Based on Semi-Global Matching (SGM)
- Disparity image computed at 4K
- Point detection and mapping
- Detects points with Fast or GFTT
- Creates descriptors using A-KAZE
- Matches spatial or temporal points using Hamming distance
- Neural networks
- Inference with models for segmentation object detection, classification, pose detection, and monocular depth estimation
- Support for on- and off-camera deployment
- Pre-trained models available for many use cases
- No need for quantization and pruning
Applications
- Manufacturing
- Industrial automation
- Food and beverage processing
- 3D machine vision
- Industrial IoT
- Object detection
- Object classification
- Defense and security
- VRU detection
- Human and animal biomechanics (gait analysis)
- Robotics
- AgTech
- Service robots
- Delivery robots
- Warehouse robots
- Assistive devices and healthcare robots
- Localization
- 3D scanning
Specifications
- Monocular or stereo versions
- 1x or 2x Sony IMX577, 1/2.3”, 12.3MP
- Rolling shutter
- Image sensor features
- Binning
- Flip
- Analog gain control
- ISP functions
- Color correction
- Gain
- Gamma
- White balance
- Black level
- Hue
- Sharpness
- Saturation
- Pixel and Lens shading correction
- TDK InvenSense ICM20689 and MEMSIC MMC5603NJ
- Flexible field of view via interchangeable lenses
- 12V power supply
- 1x or 2x High Dynamic Range (HDR) compressed image via dual or triple exposure and local tone mapping
- Interfaces
- GigE Vision 2.1
- Serial port
- Digital I/O
- AI processed on camera
- Segmentation
- Classification
- Detection
- Pose
- Processor
- 16nm chip with 10 processors
- 4x DSPs
- 8x accelerators
- Connectors
- RJ45 Ethernet with mounting holes for GigE Vision cables
- 2.1mm ID and 5.5mm OD barrel connector for power
- Molex 0530480510 for serial port and digital I/O
- CS-mount lens mount
- -20°C to +75°C temperature range
Videos
Block Diagram
TDK InvenSense ICM-20689 Inertial Measurement Units
Published: 2022-02-09
| Updated: 2022-06-03
