Analog Devices / Maxim Integrated MAX11200 24-Bit Ultra-Low-Power ADCs with GPIO
Analog Devices MAX11200 24-bit Ultra-Low-Power (<300µA active current) Serial Output Analog-to-Digital Converters (ADCs) with GPIO are optimized for applications that require high dynamic range with low power, such as sensors on a 4mA to 20mA industrial control loop. Optional input buffers provide isolation of the signal inputs from the switched capacitor sampling network, allowing these ADCs to be used with high-impedance sources without compromising available dynamic range or linearity. Analog Devices MAX11200 ADCs provide a high-accuracy internal oscillator that requires no external components. When used with the specified data rates, the internal digital filter provides more than 100dB rejection of 50Hz or 60Hz line noise. The devices are configurable using the SPI™ interface and include four GPIOs that can be used for external mux control.Features
- 24.0-Bit ENOB at 5sps
- 20.9-Bit Noise-Free Resolution at 10sps
- 19-Bit Noise-Free Resolution at 120sps
- 570nVRMS Noise at 10sps, ±3.6VFS Input
- 1ppm INL (typ), 10ppm (max)
- No Missing Codes
- Ultra-Low Power Dissipation
- Operating-Mode Current Drain < 300µA (max)
- Sleep-Mode Current Drain < 0.4µA
- Four SPI-Controlled GPIOs for External Mux Control
- 2.7V to 3.6V Analog Supply Voltage Range
- 1.7V to 3.6V Digital and I/O Supply Voltage Range
- Fully Differential Signal and Reference Inputs
- High-Impedance Inputs
- Optional Input Buffers on Both Signal and Reference Inputs
- Programmable Internal Clock or External Clock Mode
- >100dB (min) 50Hz/60Hz Rejection
- SPI, QSPI™, MICROWIRE™-Compatible Serial Interface
- On-Demand Offset and Gain Self-Calibration and System Calibration
- User-Programmable Offset and Gain Registers
- -40°C to +85°C Operating Temperature Range
- Lead(Pb)-Free and RoHS-Compliant QSOP Package
Applications
- Battery Applications
- Portable Instrumentation
- Sensor Measurement (Temperature and Pressure)
- Weigh Scales
MAX11200 Evaluation Kit
The MAX11200 Evaluation Kit is a fully assembled and tested circuit board. The EV kits include Windows XP®-, Windows Vista®-, and Windows® 7-compatible software that provides a graphical user interface (GUI) for exercising the features of the MAX11200 family of data converters. The EV kits are connected to a PC through a USB A-to-B cable.
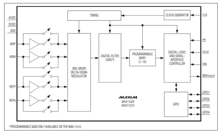
Functional Diagram
Videos
Published: 2011-03-22
| Updated: 2023-04-21
